| Sign In | Join Free | My hardware-wholesale.com |
|
Brand Name : Hynall
Model Number : ANT03
Certification : RED, FCC, RoHS
Place of Origin : Shenzhen, China
MOQ : 300pcs
Price : To be negotiated
Payment Terms : T/T
Supply Ability : 30,000pcs / month
Delivery Time : 3~4 weeks for bulk orders
Packaging Details : Blister packaging
Operation voltage : 5V DC
Operation current : 15mA
Warming-up time : 20s
Operation temperature : -20℃ ~ +75℃
Digital output : 5V DC high / low voltage
Sensitivity adjustment : By V-Tune, 25%-50%-75%-100%
For Lighting , Security , Automation , etc . Microwave Motion Sensor Switch , Digital Microwave Head
Same as the digital PIR sensor head, this is our unique digital microwave antenna head, which gives a 5v high / low voltage signal for your products / systems to adopt, DSP output makes it easy and simple to integrate with all terminal devices. This sensor head could be used as a component for not only lighting, but also security, or automation. etc.

Features--
| Operation voltage: | 5V DC | |
| Operation current: | 15mA | |
| Operation temperature: | -20℃ ~ + 75℃ | |
| Warming-up time: | 20s | |
| Digital output: | 5v high / low voltage | |
| V-Tune | ||
| Description | V-Tune PIN Voltage | Sensitivity level |
| Low sensitivity | 0.00v-1.249v | 25% |
| Medium sensitivity | 1.25v-2.49v | 50% |
| High sensitivity | 2.50v-3.74v | 75% |
| Test sensitivity | 3.75v-5.00v | 100% |
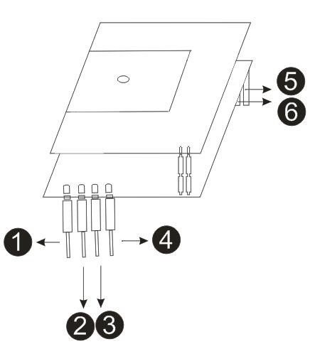
PIN description--
| PIN | Name | Description |
| 1 | +5V DC | Input DC power +5V DC |
| 2 | GND | GND |
| 3 | Output | Output 5V high / low voltage |
| 4 | V-Tune | Sensitivity |
| 5 | NC | Fix PIN |
| 6 | NC | Fix PIN |

Timing chart--

Peripheral port extension--

Detection pattern--

|
|
Microwave motion sensor switch 5v small motion sensor module Images |